Страница 1 из 3 123 ПоследняяПоследняя
Показано с 1 по 10 из 21

Тема: Размножить 4-20 мА

Комбинированный просмотр

Предыдущее сообщение Предыдущее сообщение   Следующее сообщение Следующее сообщение
  1. #1
    Пользователь
    Регистрация
    24.07.2012
    Адрес
    Россия
    Сообщений
    1,492

    Question Размножить 4-20 мА

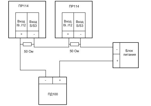
    Добрый день.
    Есть датчик давления ПД 100, плк 160 и пчв - не овен.
    Возможно ли размножить сигнал на плк и пчв, как это сделать?
    Нашел на форуме такую схему
    Миниатюры Миниатюры Нажмите на изображение для увеличения. 

Название:	1.JPG 
Просмотров:	7195 
Размер:	14.1 Кб 
ID:	11967  

  2. #2
    Пользователь Аватар для smk1635
    Регистрация
    06.09.2010
    Адрес
    Брянск
    Сообщений
    1,241

    По умолчанию

    И что смущает ? Схема верная. Только шунтирующие резисторы могут быть не обязательны. От оборудования зависит.
    Теория и практика иногда сталкиваются. Когда это случается, теория проигрывает. Всегда. (Закон Линуса)

  3. #3

    По умолчанию

    Только у приборов может оказаться общий минус.

  4. #4
    Пользователь
    Регистрация
    22.02.2013
    Адрес
    RZN
    Сообщений
    958

    По умолчанию

    Подайте с аналогового входа сигнал прямо на аналоговый выход(ы).

  5. #5
    Пользователь Аватар для petera
    Регистрация
    06.05.2011
    Адрес
    Минск
    Сообщений
    4,108

    По умолчанию

    Цитата Сообщение от AVF Посмотреть сообщение
    Подайте с аналогового входа сигнал прямо на аналоговый выход(ы).
    Правильно, так и нужно сделать.
    ПД100--> аналоговый вход ПЛК, аналоговый выход ПЛК --> на вход ПВЧ. А в программе ПЛК выполнить Aout:=Ain.
    Мой канал на ютубе
    https://www.youtube.com/c/ПетрАртюков
    Мой канал на РУТУБЕ
    https://rutube.ru/channel/23641433/
    Библиотека ГМ для СП300
    https://disk.yandex.com/d/gHLMhLi8x1_HBg

  6. #6
    Пользователь Аватар для Ryzhij
    Регистрация
    15.04.2013
    Адрес
    Рязань
    Сообщений
    918

    По умолчанию

    А по сети из ПЧВ забрать значение не получится? Обязательно аналоговый вход на ПЛК занимать?

  7. #7
    Пользователь Аватар для capzap
    Регистрация
    25.02.2011
    Адрес
    Киров
    Сообщений
    10,574

    По умолчанию

    Насколько я знаю можно и наоборот, с аналогового датчика подать на соответствующий вход пчв и с аналогового выхода частотника далее на плк, этот вариант сократит использование kaналов плк

  8. #8
    Пользователь
    Регистрация
    22.02.2013
    Адрес
    RZN
    Сообщений
    958

    По умолчанию

    Тоже вариант. Только коэффициент размножения будет равен 1 и при отключке ПЧВ сигнал пропадёт.

    Цитата Сообщение от Ryzhij Посмотреть сообщение
    А по сети из ПЧВ забрать значение не получится? Обязательно аналоговый вход на ПЛК занимать?
    --- я так понимаю, топик-стартером ещё не освоены настройки приборов для работы в сети, иначе бы и вопрос не поднимался
    Последний раз редактировалось AVF; 20.02.2014 в 07:40.

  9. #9
    Пользователь
    Регистрация
    24.07.2012
    Адрес
    Россия
    Сообщений
    1,492

    По умолчанию

    Цитата Сообщение от AVF Посмотреть сообщение
    Тоже вариант. Только коэффициент размножения будет равен 1 и при отключке ПЧВ сигнал пропадёт.


    --- я так понимаю, топик-стартером ещё не освоены настройки приборов для работы в сети, иначе бы и вопрос не поднимался
    Всётам освоенно, сеть уже занята, и плк там слейв.
    Насчет задействования выхода плк, хотелось бы этого избежать, на крайний вариант, как и из пчв в плк. Хотя мысль CAPZAP очень понравилась.
    Интересует именно 1 датчик и 2 входа.
    Сопротивление пчв 250 Ом, плк помоему 50 Ом, значит датчик вроде работать должен. Я не пойму сопротивлений какие они должны быть и как их посчитать или без них соединить вообще?
    Общего минуса у приборов нет.

  10. #10
    Пользователь Аватар для Ryzhij
    Регистрация
    15.04.2013
    Адрес
    Рязань
    Сообщений
    918

    По умолчанию

    Цитата Сообщение от Scream Посмотреть сообщение
    Сопротивление пчв 250 Ом, плк помоему 50 Ом, значит датчик вроде работать должен. Я не пойму сопротивлений какие они должны быть и как их посчитать или без них соединить вообще?
    Общего минуса у приборов нет.
    Вы про какие резисторы? Про те, что на картинке? Так это от конкретных приборов-приёмников зависит. В РЭ смотрите.
    У каких-то устройств эти резисторы уже внутрь спрятаны, у каких-то (например ПР114) это указывается в параметрах на chanel, а где-то фиксированная величина. АЦП же фактически так и продолжает измерять напряжение, а не ток.
    Главное, чтобы датчик-источник сигнала смог "прокачать" суммарное сопротивление петли тока 4-20 мА.

    PS
    Прикольно, автофильтрация не даёт ввести слово "к_а_н_а_л" и запятую после него.
    Получается к*****
    Последний раз редактировалось Ryzhij; 20.02.2014 в 14:43.

Страница 1 из 3 123 ПоследняяПоследняя

Похожие темы

  1. Токовый сигнал 4-20 мА в частоту.
    от Gans в разделе Эксплуатация
    Ответов: 22
    Последнее сообщение: 08.06.2021, 10:22
  2. Преобразование 4...20 мА в 0...10 В
    от Turboblock в разделе Подбор Оборудования
    Ответов: 6
    Последнее сообщение: 30.01.2015, 18:57
  3. Подключение датчиков 4-20 мА к ПЛК160
    от rocky7 в разделе ПЛК1хх
    Ответов: 11
    Последнее сообщение: 16.05.2013, 13:11
  4. Опрос датчика 4-20 мА
    от Xkraft в разделе ПЛК1хх
    Ответов: 5
    Последнее сообщение: 20.12.2011, 08:42
  5. ЦАП 4...20 мА
    от Makk в разделе Эксплуатация
    Ответов: 8
    Последнее сообщение: 19.04.2009, 17:34

Ваши права

  • Вы не можете создавать новые темы
  • Вы не можете отвечать в темах
  • Вы не можете прикреплять вложения
  • Вы не можете редактировать свои сообщения
  •